推薦產品
咨詢熱線:
郵件: oklzq@aliyun.com
電話:0317-8309525
地址: 河北省泊頭市南倉街
-
產品詳情

TGL尼龍彈性圈鼓形齒聯軸器其內齒圈材料采用MC尼龍材料,外齒軸套采用45號鍛鋼,具有尺寸小、重量輕、轉動慣量小、噪音小、裝拆方便、不用潤滑等優點,可應用于中小轉矩的工況環境,例如風機、水泵、潤滑泵、紡織機械等。
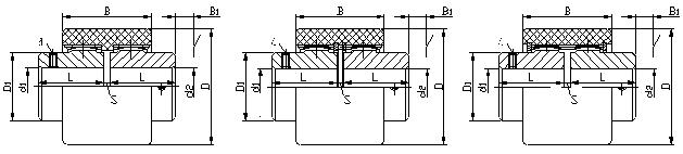
TGL型尼龍內齒圈鼓形齒式聯軸器為國標型號,我廠生產的另一種尼龍內齒圈聯軸器為NL型內齒形彈性聯軸器。TGL型鼓形齒尼龍齒圈聯軸器有以下三種結構型式: A---型基本型: B---型內擋圈型: C---型外擋圈型


| 注:1、瞬時過載轉矩不得大于公稱轉矩的2倍。 2、質量和轉動慣量是各型號中特大值的近似計算值。 3、B1是保證原動機或工作機安裝所必需的特小尺寸。 4、建議TGL10~TGL12采用B型。 TGL聯軸器許用補償量 |






